近日,无人机系联合南开大学人工智能学院面向我院无人机系2019级,2020级近300名学生利用暑期完成国家级无人机编队协同智能任务规划虚拟仿真实验项目。通过此次学习大大提高了无人机系学生的无人机编队和任务规划的“软”实力。


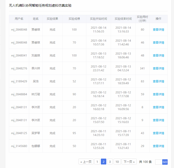
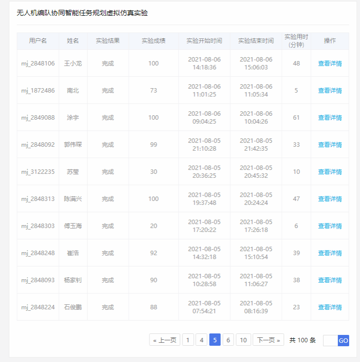
系统后台数据
“无人机编队协同智能任务规划虚拟仿真实验”是“人工智能技术”核心课程重点建设的研究探索型实验。内容包括无人机的自主起降、路径规划、遍历覆盖、编队协同。实验采用离线编程方式实现数据驱动的虚拟场景实验及交互,可灵活设计智能决策、控制、规划及视觉检测、跟踪、重建算法,并进行效果评价。该项目能够真实模拟军事战场、生态保护、国土资源管理等领域多无人机协同任务,训练学生探索智能控制、规划与任务决策方法的能力。
下一步无人机系将继续深入贯彻落实习近平总书记在视察空军航空大学时关于加强无人机专业建设的重要讲话精神,以专业建设为抓手,抢抓发展机遇,持续提升人才培养质量,为我国无人机人才培养奉献力量。无人机系大胆实践,进一步贯彻落实学院“教学项目化,项目教学化”的教学方针,扎实推进专业建设。